Email Us : kedar@tria-group.com
Call Us : +91-9561334433

Ferrules & Nuts

Ferrules
We manufacture Ferrules for hydraulic hoses which are usually crimped. Ferrules are also called as Sleeves/Shells/Caps/Boccola / PressHulse / Casquillo. Ferrules play a very important role as they are a medium to join the end fittings to the Hydraulic hose. Even under high pressures these ferrules keep the relation of end fitting and hose intact. Hence it can be called as safety critical part. Internal profile of the ferrule is the gimmick of this part. Design has to be done carefully while keeping performance in mind. Another important aspect is the correct use of raw materials. Raw materials which have good malleable (flowing) property result in effective crimping and good holding properties. Not only raw material but correct heat treatment is also very important. To achieve all these characteristics we offer a good solution which makes these ferrules not only cost effective but also of good quality. For good volumes we adopt cold forging & machining route. Due to cold forging the ferrule gets grain flow and homogeneity. Because of this the Crack problem completely vanishes and hence the ferrule ends up being a lot stronger. For small volumes we opt for bar route but at the same time we carry out crack detection test at bar level (in-house) and also carry out heat treatment process to get its crimping quality.

R1T-R2T Ferrules

Sr no. DN Size OD Length
1 6 1/4″ 23 30
2 10 3/8″ 26 30
3 12 1/2″ 30 34
4 16 5/8″ 33 37
5 20 3/4″ 38 40
6 25 1″ 46 51

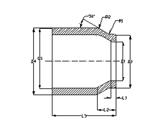
Shell

5/16″ 3/8″ 1/2″ 3/4″
D1 11.70 ± 0.1 14.8±0.1 18.70±0.1 24.70±0.1
D2 18.39-0.2 23.0±0.1 25.90±0.1 32.0±0.2
D3 15.00 ±0.1 20.50± 23.90± 32.39±
D4 23.00-.011 28.05±0.1 31.25±0.1 39.85±0.2
L1 4.70±0.1 4.50±0.1 4.50±0.1 4.71±0.1
L2 10.12±0.2 8.90±0.2 9.15±0.25 12.26±0.2
L3 28.14±0.1 34.60±0.2 34.60±0.25 45.59±0.2

Cold Forged NUT
Similar to ferrules we also manufacture Nuts by the cold forging route. For Nuts we have limited options, our range starts from A/f 24mm to A/f 38mm only. As per the customer’s requirement we can modify its length and internal diameters. Following are the list of the sizes that we manufacture.

Sr no. A/f L D1 D2
1 24 23 17 14
2 27 20 18 12
3 27 26 19.5 12
4 30 30 21.5 14
5 32 20 23 15
6 32 36 23 15
7 36 27 27 15